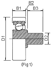
Roller No. D1 D2 B1 B2 B3 B4 L/C Fig
K-196/SS0.5 19 M6-1 6 0.5 8 - 35kg 1
K-196/S-2 19 M6-1 6 2.0 8 - 35kg 1
K-226/S0.5 22 M6-1 6 1 8 0.3 40kg 2
K-226/S-1 22 M6-1 6 1.5 8 0.3 40kg 2
K-226/S-2 22 M6-1 6 2.5 8 0.3 40kg 2
K-226/S-3 22 M6-1 6 3.5 8 0.3 40kg 2
K-226/S-4 22 M6-1 6 4.5 8 0.3 40kg 2
K-226/S-5 22 M6-1 6 5.5 8 0.3 40kg 2
K-226/S-6 22 M6-1 6 6.5 8 0.3 40kg 2
K-227/S0.5 22 M6-1 7 1 8 - 40kg 1
K-227/S-1 22 M6-1 7 1.5 8 - 40kg 1
K-227/S-2 22 M6-1 7 2.5 8 - 40kg 1
K-227/S-3 22 M6-1 7 3.5 8 - 40kg 1
K-227/S-4 22 M6-1 7 4.5 8 - 40kg 1
K-227/S-5 22 M6-1 7 5.5 8 - 40kg 1
K-227/S-6 22 M6-1 7 6.5 8 - 40kg 1
K-256/S0.5 25 M6-1 6 1.0 8 0.3 40kg 2
K-256/S-1 25 M6-1 6 1.5 8 0.3 40kg 2
K-256/S-2 25 M6-1 6 2.5 8 0.3 40kg 2
K-256/S-3 25 M6-1 6 3.5 8 0.3 40kg 2
K-256/S-4 25 M6-1 6 4.5 8 0.3 40kg 2
K-256/S-5 25 M6-1 6 5.5 8 0.3 40kg 2
K-256/S-6 25 M6-1 6 6.5 8 0.3 40kg 2
K-268/S0.5 26 M6-1 8 0 8 - 60kg 1
K-268/S-1 26 M6-1 8 0.5 8 - 60kg 1
K-268/S-2 26 M6-1 8 1.5 8 - 60kg 1
K-268/S-3 26 M6-1 8 2.5 8 - 60kg 1
K-268/S-4 26 M6-1 8 3.5 8 - 60kg 1
K-268/S-5 26 M6-1 8 4.5 8 - 60kg 1
K-268/S-6 26 M6-1 8 5.5 8 - 60kg 1
K-309/S-1 30 M6-1 9 0 8 - 60Kg 1
K-309/S-2 30 M6-1 9 1 8 - 60kg 1
K-309/S-3 30 M6-1 9 2 8 - 60kg 1
K-309/S-4 30 M6-1 9 3 8 - 60kg 1
K-309/S-5 30 M6-1 9 4 8 - 60kg 1
K-309/S-6 30 M6-1 9 5 8 - 60kg 1

1. L/C=Load Capacity at 300 r.p.m. (kg).

2. Depend on a stock position, minimum quantity might be applied for few models.
Made in Japan


MATEX SEIKO & CO., LTD.  2-3-9, Nihonbashi-higashi
Naniwa-ku, Osaka 556-0006 JAPAN
Tel: +81-6-6648-6801    Fax: +81-6-6648-6811